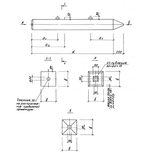
СЦпр 3-30

Чертеж изделия:
Характеристики изделия:
ПараметрЗначение
длина3000 мм
ширина300 мм
высота300 мм
масса700 кг
нормативный документСерия 1.011-6

СЦпр 3-30  Свая квадратного сечения без поперечного армирования ствола (центральное армирование высокопрочной проволокой) (Серия 1.011-6).