1Р 4

Чертеж изделия:
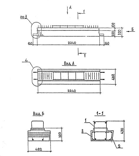
Характеристики изделия:
ПараметрЗначение
длина2560 мм
ширина482 мм
высота430 мм
масса1200 кг
нормативный документСерия 1.020.1-2с/89

1Р4  Ригели для одностороннего опирания плит  Серия 1.020.1-2с/89.