Р 6

Чертеж изделия:
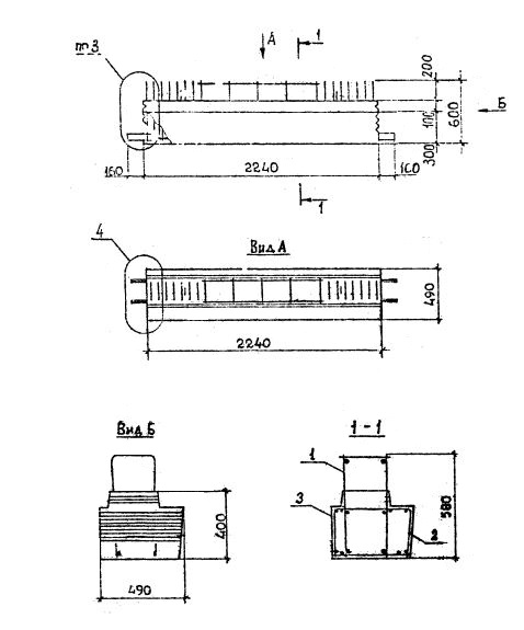
Характеристики изделия:
ПараметрЗначение
длина2550 мм
ширина490 мм
высота580 мм
масса630 кг
нормативный документСерия 1.020.1-2с/89

Р 6  Ригели для одностороннего опирания плит Серия 1.020.1-2с/89.