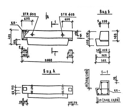
РЛП 4.27 ригели

Чертеж изделия:
Характеристики изделия:
ПараметрЗначение
длина2660 мм
ширина382 мм
высота450 мм
масса880 кг
нормативный документСерия 1.020.1-7

РЛП 4.27  Ригели (оснащённые  единственной полкой, устанавливаются на лестничных площадках) Серия 1.020.1-7.