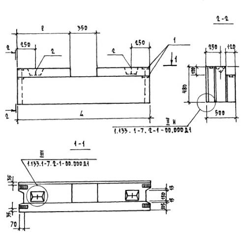
6БН 15.5.50

Чертеж изделия:
Характеристики изделия:
ПараметрЗначение
длина1480 мм
ширина500 мм
высота480 мм
вес480 кг
серия1.133.1-7

6БН 15.5.50 Блоки подкарнизные по серии 1.133.1-7.