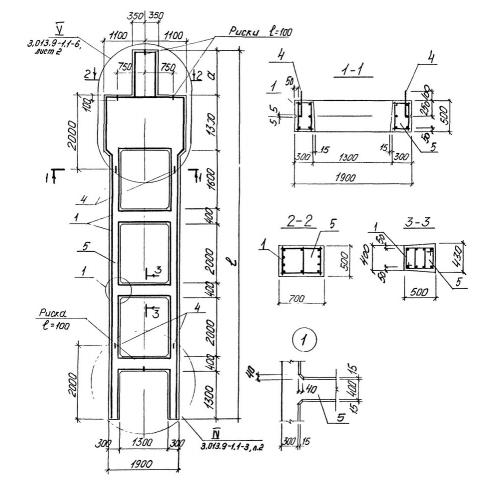
3КД 9 колонна средняя

Чертеж изделия:
Характеристики изделия:
ПараметрЗначение
длина10900 мм
ширина500 мм
высота2200 мм
масса12930 кг
нормативный документСерия 3.013.9-1

3КД 9  Колонны двухветвевые Серия 3.013.9-1.