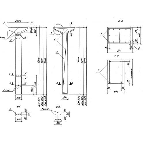
К 26

Чертеж изделия:
Характеристики изделия:
ПараметрЗначение
длина6200 мм
ширина2400 мм
высота2400 мм
масса4600 кг
нормативный документСерия 3.015-16.94

К 26  Колонны бетонные Серия 3.015-16.94.