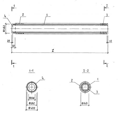
СК 12-40

Чертеж изделия:
Характеристики изделия:
ПараметрЗначение
длина12000 мм
ширина400 мм
высота400 мм
вес2410 кг
серия3.015-5/86

СК 12-40 Сваи полые круглые по серии 3.015-5/86.