Фм

Чертеж изделия:
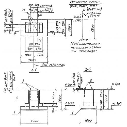
Характеристики изделия:
ПараметрЗначение
длина2400 мм
ширина1500 мм
высота1800 мм
масса6250 кг
нормативный докуентСерия 3.016.2-12

Фм   Фундаменты монолитные Серия 3.016.2-12.