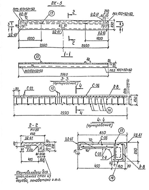
ПК-5 карнизная панель

Чертеж изделия:
Характеристики изделия:
ПараметрЗначение
длина5980 мм
ширина650 мм
высота250 мм
масса1200 кг
нормативный документСерия 3.407-102

ПК-5  Карнизные панели Серия 3.407-102.