Блок №57

Чертеж изделия:
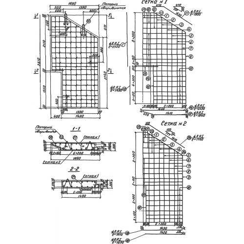
Характеристики изделия:
ПараметрЗначение
длина3610 мм
ширина1890 мм
высота300 мм
вес3800 кг
серия3.501-104

Блок №57 Откосные стенки (крылья) по серии 3.501-104.