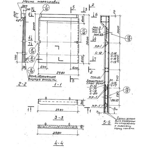
ПС 300-360-35 Панель стеновая балочная
Характеристики изделия:
| Параметр | Значение |
|---|---|
| длина | 2980 мм |
| ширина | 3600 мм |
| высота | 380 мм |
| масса | 4830 кг |
| нормативный документ | Серия 3.900.-3 |
Цена:
Рассчитать стоимостьПС 300-360-35 Панели стеновые балочные для прямоугольных сооружений по Серии 3.900.-3.
