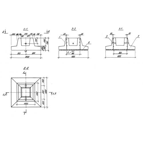
2ФР 1 фундамент

Чертеж изделия:
Характеристики изделия:
ПараметрЗначение
длина1800 мм
ширина1800 мм
высота750 мм
масса3030 кг
нормативный документСерия 3.900.1-10

2ФР 1 Блоки фундаментные стаканного типа по Серии 3.900.1-10.