СБК-1.8

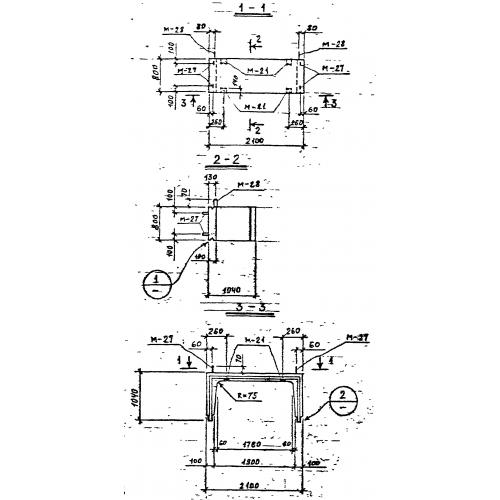
Чертеж изделия:
Характеристики изделия:
ПараметрЗначение
длина2100 мм
ширина1040 мм
высота800 мм
масса900 кг
нормативный документСерия 3.903 КЛ-13

СБК-1.8   Блоки камеры средние по Серии 3.903 КЛ-13.