ПО 74.116.16

Чертеж изделия:
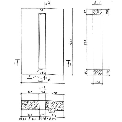
Характеристики изделия:
ПараметрЗначение
длина1160 мм
ширина740 мм
высота160 мм
вес316 кг
шифрВ 019

ПО 74.116.16 Плиты с одним отверстием по Шифру В 019.