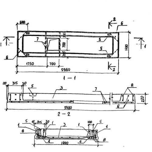
ПРП 60.15

Чертеж изделия:
Характеристики изделия:
ПараметрЗначение
длина5980 мм
ширина1490 мм
высота220 мм
вес2550 кг
серияТП 213-2-183

ПРП 60.15 Плиты ребристые по проекту ТП 213-2-183.