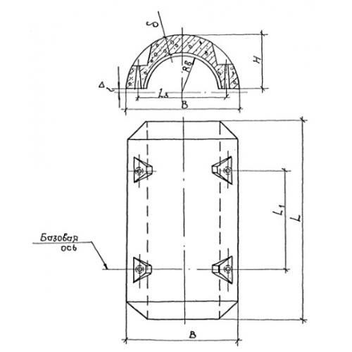
2УТК 426 Утяжелители

Чертеж изделия:
Характеристики изделия:
ПараметрЗначение
длина1200 мм
ширина770 мм
высота370 мм
масса320 кг
нормативный документТУ 102-264-81

2УТК 426 Утяжелители сборные кольцевые по ТУ 102-264-81.